logo

De Risking Technology

image

Reference Article Regarding Science and Technology of Chlorine Flow Battery

(a) 1884 Zinc Chlorine used to power La France Airship.

(b) Nature article was reviewed by our chemical engineer.

Title: High-energy and low-cost membrane-free chlorine flow battery

Reference: https://www.nature.com/articles/s41467-022-28880-x (see below for link)

(c) The US Military funded the above research by investing $7 million into the project to verify it. The University of Maryland and PNNL (Pacific Northwest Labs) was also used for the validation. See link below.

(d) We have verified NTP and Vermiculite in our lab tests.

Nature Article: High-energy and low-cost membrane-free chlorine flow battery

Flow Battery Technology Report

PNNL Pacific Northwest Labs

image

Why Salt Water may be the Future of Batteries

There’s no shortage of solutions to the world’s need for renewable energy storage, but there is a shortage of accessible and cheap resources to use for those solutions. Lithium and vanadium aren't limitless, so what about regular, run-of-the-mill salt? Redox flow batteries, or RFBs, can exploit the abundance of elements like sodium and iron. One U.S. company already has salt water batteries ready to go, with at least two others developing iron flow variations built to effectively run on rust. They promise to last longer and be far cheaper than the competition. So, what happens if we go with the flow?

Undecided with Matt Ferrell

Why Salt Water may be the Future of Batteries

image

Eco Friendly

(a) Eco Battery press releases, putting your company in forefront of world eco sensitive businesses.

(b) Worlds first cogen (thermal and electric) battery.

(c) Uses salt, which is available everywhere. Does not use large amounts of metals.

Salgenx Press Releases

image

Benefits of New Flow Battery Technology

(a) First to market.

(b) You will have the first electrical and thermal battery simultaneously.

(c) You will have access to our pre-orders.

(d) First chlorine flow battery to market.

(e) First grid-scale flow battery without a membrane.

(f) With thermal storage simultaneously, you can reduce customer payback (return on investment) 2-10x faster than a Tesla Megapack.

Salgenx is now developing ultracapacitor bridging for faster discharge resembling lithium batteries

Salgenx is now developing ultracapacitor bridging for faster discharge resembling lithium batteries

Thermal Storage

Thermal storage in other industries include Calmac, which storages cold energy at night to use during on-peak demand. We can take advantage of the Cogen aspects of this battery using our Cavgenx heat pump turbine.

This is known as thermal battery air conditioning, or thermal arbitrage. See: http://www.calmac.com

This battery can be used for AI data center cooling.

Thermal Storage Arbitrage

Cavgenx Heat Pump Turbine used with Salgenx Battery System

Salgenx is also developing sodium intercalation with cathode materials to make graphene

Salgenx is also developing sodium intercalation with cathode materials to make graphene

Technology Risk Concern

Is it a new technology ?

No, it has been around since 1884 but has been ignored, like many other stranded technology. The first electric car was before the internal combustion engine, now look at the success of Tesla.

Reference: https://www.energy.gov/articles/history-electric-car

(b) Flow batteries work. What we are focussing on is a chlorine flow battery, based on using salt water. Zinc chlorine battery was working in 1884.

(c) Our work is focussed on increasing efficiency (energy density) of the electrolyzer stack.

(d) The benefits of a chlorine flow battery is that chlorine is already accepted in industry, especially in the pool industry where it is used for water sanitation and as a disinfectant.

(e) The benefits of salt (NaCl) is that it is everywhere, reducing costs.

(f) Nature article was reviewed by our chemical engineer. The process has been validated in Pacific Northwest Labs in the USA.

Reference: https://www.nature.com/articles/s41467-022-28880-x

First Electric Car Was Not A Tesla

NaCl Battery Lab Confirmed

Technology Review

image

Patents and Intellectual Property

The Modular Block Patent is used for this technology while the rest is a trade secret.

We are not patenting the SWB process and technique, since it will be public and copied.

Patent:

https://patents.google.com/patent/US7726331B1/en

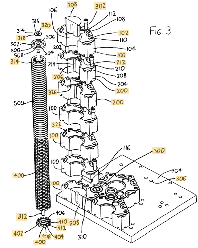
Modular fluid handling device II (US7726331B1 US Patent Expires 2029)

Modular fluid handling device II

image

CavGenX Thermal Processing Turbine Using Supercritical CO2

The turboshaft heat pump. This device can be used in conjunction with the Salgenx battery for cogeneration - storing hot or cold thermal energy in the saltwater electrolyte.

Available for licensing.

The Concept: Combining a common shaft drive turbine to a compressor for heating, cooling, and hydraulic drive pressure is unique in its ability to serve multiple functions simultaneously.

Purpose: Provide cooling and hydraulic drive power.

Goals: AI processor cooling and hydraulic drive power.

How Does it Work ? A electric motor starts the common shaft compressor. Liquid working fluid is flashed to pressurized vapor by a cavitating disc. The vapor is then heated for more pressure. The pressurized vapor is then expanded through a common shaft turbine. The resulting shaft rotation drives the forward cavitating compressor, a hydraulic pump, and a feed pump. The vapor is then condensed (a cooling process) and can be used for cooling. In this ORC process, the evaporator is the thermal stage between the compressor and turbine. Evaporator heat can be provided by waste heat, solar thermal, AI processor heat, magnetic induction, conventional fuels, and more.

About: Infinity Turbine invented the Modular Block in 2004 and uses it for applications in Organic Rankine Cycle, cooling, and gas to liquid applications. Infinity has been developing ORC turbines, systems, and applications since 2008. In 2015, Infinity built production CO2 closed loop systems. This application is a synergy of thermal and power processing using the experience, knowledge and First Principles for turboshaft processing power.

Cavgenx

image

Infinity Disc Pump and Turbine with Radial Impeller Option

Included with the Salgenx license.

Infinity is now offering its disc pump and turbine package. It also includes a radial pump/turbine impeller. This is experimental.

The 6 inch (152.4 mm) diameter disc pack can be swapped out for any type Tesla disc for optimizing pump according to liquid viscosity.

Pump discs are mounted on a keyed common shaft to a magnetic coupler which allows a outside pump motor (with magnetic coupler) or external generator.

Prototype pump discs or impellers can be 3D printed for this type of Modular Block assembly housing. Typical blocks are machined from aluminum (for pumping or expander operations) or HDPE for just pumping.

The pump housing is good for pressures lower than 300 PSI and less than 100 C. If higher pressures are desired, then a high strength material magnetic coupler block needs to be designed and manufactured (something like carbon fiber).

CONTACT TEL: +1 608-238-6001 (Chicago Time Zone) Email: greg@salgenx.com | AMP | PDF | Salgenx is a division of Infinity Turbine LLC